5万亿网贷行业迎来最强监管,度小满没有新故事

洋洋 2026-04-07 15:18

当流量红利退潮、资金杠杆锁死、ABS渠道收紧、获客成本高企四重压力叠加,曾经靠高息覆盖高成本、靠外部融资驱动规模的增长飞轮,已经转不动了。

‍‍‍‍‍‍‍‍‍‍‍‍‍‍‍‍‍‍‍虽然度小满冠名的《浪姐7》在这个春天热度不减、话题不断,但今年的春天对于网贷行业来说,却是一个寒意满满的春天。

不久前发布的《个人贷款业务明示综合融资成本规定》(今年8月1日起施行)要求推行“综合融资成本明示制度”,严禁在明示项目之外额外收取任何与贷款相关的息费。过去平台依靠会员费、审核费、服务费等赚得盆满钵满,如今这条路已被彻底封死。

再加上去年10月的“9号新规”(2025年10月正式公布的《商业银行互联网助贷业务管理通知》),明确要求银行必须自主风控、综合成本封顶24%、平台不得向借款人收费、总行白名单管理,全面封堵过去“银行出钱、平台风控、高息收费”的灰色模式。

两记重拳,让网贷行业的套利空间被压缩至极限,几乎荡然无存。度小满等头部企业,受到的影响到底如何?

头部机构,冲击更大?

要理解这一轮监管的杀伤力,还得从2020年P2P行业彻底清盘说起。

当年P2P虽退出历史舞台,但持牌网络小贷迅速接棒,摇身一变成了网贷行业的新形态——助贷。过去几年,头部平台之所以能在P2P倒台后发展得不错,本质上是抓住了监管套利的窗口期。乐信(分期乐)、信也科技(拍拍贷母公司)、度小满、嘉银科技、瓴岳科技等,都借此获得了较快发展。

助贷模式的逻辑简单直接:网贷平台手握流量和用户数据,找中小银行出资,平台负责获客、风控、催收,银行坐享利息分成。表面上看,平台收取的是技术服务费,不承担信用风险,合规合法。但实际上,绝大多数中小银行根本没有自主风控能力,将授信审批、风险管控的核心环节全盘外包,自己沦为了纯粹的资金批发商。很多平台继续向下沉市场用户放贷,通过会员费、服务费、担保费等各种名目,将实际年化利率推高至监管红线之上。

去年10月的“9号新规”与今年3月的《个人贷款业务明示综合融资成本规定》,正是对这些问题釜底抽薪。杀伤力主要体现在三件事上:

银行风控主体责任回归:过去许多中小银行将核心风控外包,现在商业银行必须自主开展贷款风险评价与审批,不得将授信审批、风险控制等核心环节外包给任何合作机构。

其次是综合融资成本刚性封顶:所有与贷款相关的费用,包括利息、担保费、保险费、服务费等,全部计入综合融资成本。

还有小贷公司的利率红线:去年12月,中国人民银行、国家金融监督管理总局联合印发《小额贷款公司综合融资成本管理工作指引》,明确要求到2027年底前,小贷公司新发放贷款的综合融资成本必须压降至12%以下。

这道红线几乎重新定义了行业生死线。

很多人不知道,12%意味着什么?对于长期依赖高息差覆盖风险成本的小贷公司而言,当前大量产品将面临“合规即亏损”的困境。

早在2020年8月,最高人民法院将民间借贷利率司法保护上限从24%降至15.4%(当时LPR的4倍)时,当时就有小贷行业从业者接受媒体采访指出:“把资金和运营成本都考虑进去的话,20%基本上是这个行业的盈亏平衡线,而且这是运营得很好的头部消费金融公司的水平。”

这意味着12%的上限一旦全面落地,将使大量机构陷入无利可图的死局。

很多人误以为新规只针对中小机构,其实恰恰相反,头部机构受冲击更大。

首先,规模越大,合规成本越高。过去头部机构的高增长,很大程度上依赖高杠杆和密集的机构资金合作。新规把杠杆压下来,意味着它们的“规模神话”将无法延续。作为网贷平台最主要的资金来源,银行自去年底起普遍收紧合作。乌鲁木齐银行自2025年10月1日起已全面停止发放合作类个人互联网消费贷款,龙江银行在2025年11月5日披露的名单中唯一合作机构状态亦为“已停止合作”,威海蓝海银行则在2026年3月更新的68家合作机构名单中暂停了40家投放……不再向网贷平台提供资金支持,相当于断了“粮草”。

其次,资产端与资金端双重挤压。头部机构过去用极低的自出资比例撬动了几千亿的余额,现在不仅要补足资本金(30%门槛),还要面对银行资金方因监管趋严而普遍收紧合作的局面。

还有,12%-24%之间的高利润模式难以为继。许多小贷公司的高风险客群年化利率达18%-24%,而高利率又需要高压催收来保障回款,形成“高息-高利润-严催收-低不良”的闭环。这种模式看似高效,却游走在合规边缘,一旦监管收紧,极易陷入困境。

以仍然能大手笔冠名S级综艺的度小满为例,黑猫投诉平台数据显示,度小满及旗下“有钱花”相关投诉量累计超9万条,利率过高、被恐吓催收、被收取部分服务费、担保费等不合理费用,成为了投诉高发区。

多位用户反映,度小满的利率在23.4%之间,紧贴24%的司法保护上限,部分超出当前1年期LPR的4倍。还有用户投诉,有钱花在4200元到账后就被扣走服务费,质疑是否属于“砍头息”?

陆玖商业评论亲自测试发现,在页面上,度小满批准的利率为6.12%,属低息范围;但是部分借款人的实际利率远超宣传的“低息”标准;这种“高息覆盖高成本”的模式,不仅与监管倡导的“降低实体经济融资成本”导向相悖,更将风险转嫁给了普通消费者。

增长故事正面临实质性挑战

陆玖商业评论发现,近年来,小贷公司一直在减少,最新数据是截至2025年9月末,全国小额贷款公司数量降至4863家,贷款余额7229亿元,前三季度贷款余额累计减少319亿元。行业正经历深度调整,加速出清中。

实际上,行业“瘦身”态势已持续多年,现在的小贷机构数量较2015年三季度巅峰期的8965家缩减近半,十年间贷款余额降幅超2000亿元。

度小满等头部机构,虽然不至于马上被洗牌,但它的增长故事正面临实质性挑战。

不久前,有一张金融科技企业裁员的表格流出,说是数某科技裁员约30%,马某消费技术团队从3000余人缩减至约200人,度某某裁员约10%且有部分业务线暂停借款服务。

传闻真假暂且不论,但与2024年、2025年相比,行业的扩张势头确实已大不如前。

回看过往,2021-2023年,度小满的营收分别为30.18亿元、28.98亿元、18.1亿元,到了2024年,度小满营收22.57亿元,同比增长24.7%;净利润更是同比暴增306.1%,高达8.59亿元,相当于日赚235万元。

但细究之下,这一增长更多来自存量业务的催收回款、历史拨备的冲回等一次性因素,并非主营业务的实质性增长。换句话说,这更像是过去几年高息放贷的“余热”,而非未来可持续的增长动力。

再看业务结构。2024年底,度小满小贷的2586.13亿元放款余额,消费贷(满易贷)包含与信托等金融机构合作的助贷模式余额2411.24亿元,占比93.24%,不良率为1.09%;经营贷(周转贷)余额174.89亿元,占比6.76%,不良率为0.89%。

这意味着,度小满绝大部分业务还是与信托及银行等持牌金融机构合作的纯助贷模式。这意味着平台不仅要承担获客和风控成本,还要在联合贷中承担信用风险。特别是现在联合贷自有出资不得低于30%,这种重资产模式对资本金的消耗急剧增加,规模扩张与资本补充之间的矛盾会越来越尖锐。

而且,之前助贷类的高息客群恰恰是过去助贷平台利润的主要来源,一旦利率上限被严格锁定,高收益资产被压缩,平台要么被迫下沉到更低风险的客群(但那里利率更低、竞争更激烈),要么眼睁睁看着利润空间被一点点削薄。

所以,度小满的“高利润”是存量红利,不是增长底气;“高利率”“高利润”都只是过去时,不是护城河。

转向出海和科技输出,度小满似乎都不占优势

如今,24%的综合融资成本红线不仅封死了定价空间,还倒逼平台重新审视客群结构:继续服务高风险客群,风险收益比已经失衡;转向优质客群,又面临银行信用卡和头部互联网平台的降维打击。

于是,出海(尤其是东南亚)成为头部助贷平台的共识。东南亚市场(印尼、菲律宾、墨西哥等)监管相对宽松,利率上限远高于国内,且金融渗透率低,存在明显的增量空间。

但度小满的出海动作,直到近一两年才明显提速。陆玖商业评论发现,去年下半年,度小满在多地发布招聘广告,准备招募墨西哥、印尼的现金贷相关业务人员。

对比来看,信也科技(拍拍贷)2018年就已开始出海,在印尼的Batumbu、菲律宾的JuanHand等平台早已站稳脚跟,海外收入占比稳定在20%以上;嘉银科技(极融)也在非洲、东南亚有多年布局;昆仑万维旗下的洋钱罐同样深耕海外市场多年。

到了现在这个阶段,东南亚多个市场已经出现牌照饱和、获客成本飙升、监管也开始效仿国内收紧的态势。墨西哥虽然没官宣收紧,先发者已筑起本土化运营的护城河,后来者要付出更高的代价。因此,“晚了”不仅是时间问题,更是错过了监管套利的窗口期。

此外,过去几年度小满曾数次传出上市计划。彼时资本市场对消费金融或助贷平台的估值逻辑,普遍遵循“流量+资金+科技”的三合一模式,但真正买单的其实是前两者——流量决定了获客成本优势,资金决定了扩张速度。

如今,这两个故事都已讲不通。流量红利见顶,度小满虽有百度流量支持,但百度自身的搜索流量格局正在重构,精准金融流量的转化效率持续走低。资金杠杆被锁死,“9号新规”直接切断了规模倍增的路径,过去“一年翻倍”的增长曲线已不复存在。

当流量与资金两个核心变量双双受限,度小满只能重新回到“科技”这条唯一的叙事线上。但这一次,科技不再是点缀,而是必须撑起估值全部重量的支柱。度小满的科技输出能力在于能否将风控系统、SaaS平台输出给中小银行、消费金融公司?这决定了它能否从“重资产的信贷业务”转向“轻资产的科技服务”。

接下来可能会更难

度小满的广告,一度占据了全国各大机场的主要位置。之前有媒体评论,哪里有流量,度小满就往哪里投广告。

最近,《乘风破浪的姐姐》第七季开播,不出意外,度小满再次成为独家冠名商。

没有场景,是度小满最大的软肋。别人可以依托生态获客,度小满想维持增长,就只能靠持续曝光,“买量”是维持增长最有效的手段。此前,度小满还赞助了《哈哈哈哈哈5》《盒子里的猫2》等热门综艺,以及《长安的荔枝》《庆余年》等剧集,甚至冠名马拉松、演唱会、足球赛事。

据艺恩内容智库统计,2025年第一季度,度小满的露出总时长达到38977秒,在互联网品牌中排名第三,在互联网金融领域排名第一。

《上海证券报》去年援引业内人士的消息:过去5年,助贷机构的获客成本上涨了足足6倍,新客转化成本最高接近3000元。这笔钱最终还是要靠贷款利息来覆盖,于是形成了一个恶性循环,获客越贵,利率越高;利率越高,客群越差;客群越差,风险越难控。

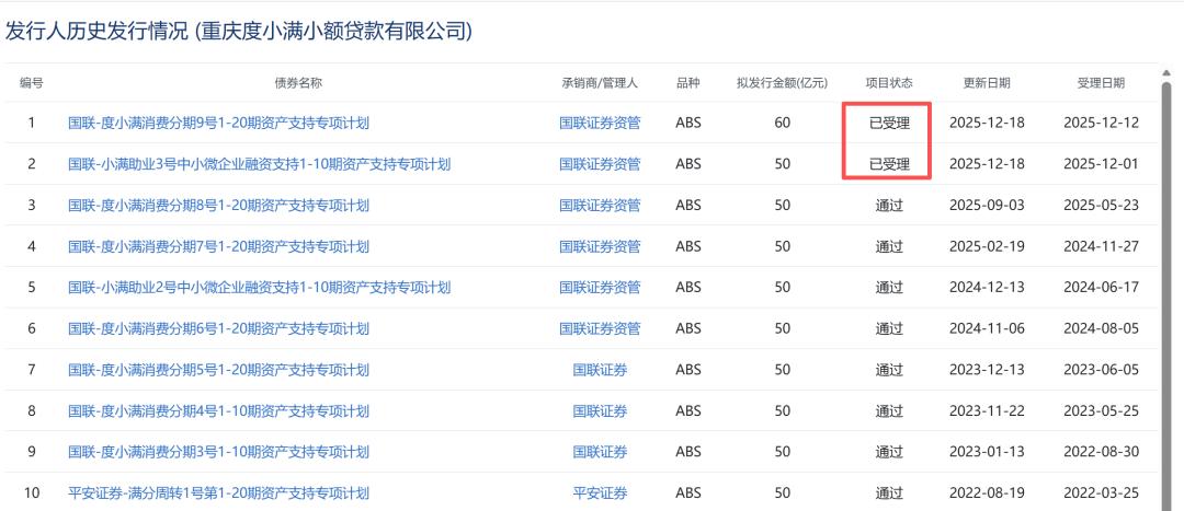
另一方面,度小满为了拓宽资金来源,也相当拼。从去年开始,其发行ABS(资产支持证券)的速度明显加快,2025年6月和9月,度小满各有一笔ABS获批。

ABS对度小满这样的金融科技公司来说,已成为重要的融资渠道。简单来说,度小满可以把用户欠它的分期账款打包成证券产品,卖给投资者,从而快速回笼资金,继续放贷。截至2024年末,度小满在各大交易所存续的ABS/ABN产品共27笔,余额合计245.38亿元。

但这种腾挪术终究治标不治本。没有场景支撑,放贷规模越大,就越依赖外部融资“填窟窿”。业内人士透露,2025年底开始,部分消费金融公司接到监管窗口指导,消金公司或暂停发行ABS和金融债,已获批但尚未发行的产品也将暂停。陆玖商业评论查询上交所官网发现,度小满去年12月的两笔各50亿元的ABS项目仍在审批中,迟迟未通过。

资金周转靠ABS,用户增长只能靠“砸钱”,度小满接下来可能会更难。

写在最后

说到底,度小满的困境并非孤例,而是整个助贷行业从“监管套利”走向“合规经营”的缩影。

当流量红利退潮、资金杠杆锁死、ABS渠道收紧、获客成本高企四重压力叠加,曾经靠高息覆盖高成本、靠外部融资驱动规模的增长飞轮,已经转不动了。

对度小满而言,真正的出路或许不在于砸更多钱买流量、发更多ABS续命,而在于回答一个更根本的问题:没有场景、没有生态、没有自有资金沉淀,单凭一套风控技术,还能撑起多远的未来?

如今,在行业即将重大调整的情况下,度小满的机场广告并没有停,这到底是表面的繁华,还是(在短期没有上市计划的大前提下)必须把该花的钱花出去?